
产品分类
更新时间:2023-05-08
浏览次数:699胡冠楠
开云官方端网站登录入口电器股份有限公司 上海嘉定
摘要:文章提出了一种用于小车式开关柜的无线测温系统,包括设于小车动触头套管上的温度传感器、环绕设于小车动触头上的电流传感器,温度传感器及电流传感器均分别连接有数据接收处理器,数据接收处理器电连接有设于小车式开关柜上的显示屏;数据接收处理器连接有通信模块,通信模块连接有远程报警单元;远程报警单元电连接终端设备。该无线测温系统结构简单,能够远程及时监控小车触头的工作情况;通过显示屏的设置可以在小车式开关柜上及时显示温度电流信息,便于运维人员查看,及时了解小车式开关柜内小车动触头的工作情况,保证了小车动触头安全运行。
关键词:高压小车开关柜;无线测温系统;电磁干扰
0、引言
在高压开关柜使用过程中,母线连接点和柜内的接触点、动静触头电路产生的发热量过大,很容易出现火灾事故和停电事故。所以,做好高压开关柜中温度的监测工作至关重要。由于高压设备中存在裸露电压,使用常规的温度监测方法并不能将高压绝缘问题解决,而无线温度监控系统使用无线电波传输信息,无须进行布线和使用高压设备等,也不需要采取相应的绝缘措施,可以解决高压设备温度监测问题,本文对高压小车开关柜无线测温系统的设计和实现进行分析探讨。
1、无线测温系统设计的重要性
10kV高压柜是电力系统中重要的部分,其安全运行是用户负荷的重要保证。高压柜的特点是负荷电流较大、容易发热,需要定期测温。从结构形式上看,10kV高压柜分为旋转刀闸式和小车式两种,小车式高压柜由于触头密封,在柜外无法观察测温,因此巡视人员只能通过对柜壁测温来间接推算内部是否发热,温度的传导损耗导致精度很低,而且无法观察细微的变化,不满足安全运行的要求。
2、高压开关柜无线测温系统设计原理
2.1 系统的主要组成
无线测温系统主要由无线温度传感器、无线温度监测仪、监控中心上位机、通信链路构成,其中,无线温度传感器主要安装在开关柜面板上,用来收集各子无线温度传感器的数据,并进行处理和储存,无线传感温度监测仪都利用RS485总线和监控中心上位机进行通信,从而组成分布式监测系统。
2.2 无线温度传感器
无线温度传感器主要用来测量带电物体表面温度,如对高压开关柜中的母排接头和裸露触电的运行温度进行监测,无线温度传感器主要包括测量电路、温度传感器、无线调制接口、逻辑控制电路、供电电路,通过无线网络将温度信号传送到无线温度监测仪。无线温度传感器由于体积比较小,适合用来测量开关柜中的温度热接点,可以对开关柜中引出电缆接头、触头、母线连接点的运行温度进行测量。
2.3 无线温度监测仪
无线温度监测仪主要用来对温度传感器的数据收集、储存、处理、报警信号输出等,其中监控中心PC机和RS485进行通信。LCD人机交互主要用来对当前无线传感器无线温度监测信息和温度数据信息进行显示,现场用户可以通过执行输入操作、输出操作进行控制。例如对无线传感器进行查询和设置,而无线温度监测仪则可以用来进行运行日志的查询和配置。
2.4 抗电磁干扰
在进行设计时,无线传感器布置在母排接近开关触头和接头表面的触臂上,一旦有大电流从触臂和母排上流过,会产生比较大的电磁场,进而影响传感器的正常运行。为保证无线传感器的正常运行,需要采取一定的屏蔽措施。在进行系统设计时,除了要对天线外接外,还需要在屏蔽盒中布置电路,降低运行过程中电磁辐射产生的影响。在导热片上布置温度传感器,并将其他屏蔽盒中剩余的空间进行灌胶,为了保证其具有良好的绝缘性,需要将传感器使用热锁管包裹好。

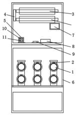
图1 小车式开关柜无线测温系统结构
图1为一种用于小车式开关柜无线测温系统的结构组成,包括设于小车动触头套管1上的温度传感器2以及设于端子箱模块3上的电流传感器4,温度传感器2和电流传感器4均分别连接有数据接收处理器5,数据接收处理器5电连接有设于小车式开关柜6上的显示屏7;数据接收处理器5连接有通信模块8,通信模块8连接有远程报警单元9;远程报警单元9电连接有终端设备。其中,数据接收处理器5包括相互电连接的数据接收单元10和数据处理单元11。另外,数据接收单元10包括温度数据接收单元、电流数据接收单元,温度数据接收单元及电流数据接收单元均分别与数据处理单元11相连。其中,数据处理单元11与通信模块8相连。另外,温度传感器2为绑扎式温度传感器,绑扎式温度传感器套设于小车动触头套管1上。其中,温度传感器2 为绝缘性温度传感器。
3、高压小车开关柜无线测温系统的实际应用
在该技术方案中,通过温度传感器的设置可以测量小车动触头的温度,通过电流传感器的设置可以测量流经小车动触头的电流;通过数据接收处理器的设置可以接收温度数据及电流数据,并对当前的温度数据与电流数据对应关系进行判断,保证测量的准确性,避免了通过通信模块连接的远程报警单元出现误报;同时小车式开关柜上设置有显示屏,可以实时显示电流、温度数据,便于运维人员查看显示屏及时了解小车式开关柜内的小车动触头发热、电流情况,保证小车式开关柜的安全运行;同时远程报警单元连接有终端设备,终端设备可以是手机或其他设备,便于运维人员通过终端设备及时掌握小车式开关柜的工作状况。
数据接收处理器包括相互电连接的数据接收单元和数据处理单元。在该技术方案中,数据接收单元能够接收温度传感器和电流传感器测量的数据;数据处理单元能够判断电流与相对应的电流温度是否在正常范围内,如果电流在一定数值,温度超出了设定的阈值,数据处理单元将判断的指令以及接收的电流、温度数据发送至通信模块。
数据接收单元包括温度数据接收单元、电流数据接收单元,二者均分别与数据处理单元相连。在该技术方案中,数据处理单元能够处理电流数据接收单元接收的电流数据和温度数据接收单元接收的温度数据,并把处理后的指令、电流数据及温度数据传递至通信模块。
数据处理单元与通信模块相连。在该技术方案中,通信模块能够将数据处理单元处理后的指令、电流数据及温度数据发送至远程报警单元。温度传感器为绑扎式温度传感器,将绑扎式温度传感器套设于小车动触头套管上。绑扎式温度传感器可以根据小车触头套管的直径大小进行调节,便于温度传感器安装在不同规格的小车触头上。温度传感器采用绝缘性温度传感器。这样设置可以使温度传感器尽可能靠近小车触头,得到更真实的温度值,防止流经小车触头的电流对温度传感器的影响,保证温度测量的准确性。
4、应用场景

电气接点在线测温装置适用于高低压开关柜内电缆接头、断路器触头、刀闸开关、高压电缆中间头、干式变压器、低压大电流等设备的温度监测,防止在运行过程中因氧化、松动、灰尘等因素造成接点接触电阻过大而发热成为安全隐患,提高设备安全保障,及时、持续、准确反映设备运行状态,降低设备事故率。
5、系统硬件配置
温度在线监测系统主要由设备层的温度传感器和温度采集/显示单元,通讯层的边缘计算网关以及站控层的测温系统主机组成,实现变配电系统关键电气部位的温度在线监测。




6、结语
综上所述,该无线测温系统是一种用于小车式开关柜无线测温系统,通过电流传感器及温度传感器的设置,反映出电流与温度的关系,保证了测量小车触头的温度数据及通过小车触头中的电流数据的准确性,通过数据接收处理器的设置可以判断在电流值一定的情况下,温度数据超出设定的阈值后,数据接收处理器将指令、温度数据及电流数据发送至通信模块,通信模块将接收的数据发送至远程报警单元,便于后台远程及时监控小车触头的工作情况,通过显示屏的设置可以在小车式开关柜上及时显示温度电流信息,便于运维人员查看,及时了解小车式开关柜内小车动触头的工作情况,保证了小车动触头的安全运行。
【参考文献】
[1]吴卓文,陈锦培,高压小车开关柜无线测温系统设计与实现。
[2]刘朝霞,高压开关柜无线测温系统设计[J].电力安全技术2015(7):40-42。
[3]王福凯,兰西柱,董瑞琦,等,高压开关柜无线测温系统设计[J].工矿自动化,2012(7):108-112
[4]开云官方端网站登录入口企业微电网设计与应用手册.2022.05版。