
产品分类
更新时间:2024-01-12
浏览次数:812胡冠楠
开云官方端网站登录入口电气股份有限公司 上海嘉定
摘要:设计了一种分布式光伏电站数据通讯管理机,包括硬件系统和软件系统.硬件系统基于ARM嵌入式处理器设计,通过RS485/232串口对光伏电站终端设备的实时数据进行采集并解析处理,采用以太网/GPRS与光伏电站控制系统的服务器相连,实现数据的远程无线通讯和传输.软件系统基于多任务实时系统Linux,采用模块化设计,包含了任务管理、内存管理、时间管理和同步通信等功能模块.该通讯管理机具有对分布式光伏电站监控数据的实时采集、存储、分析处理、上传和转发等功能.
关键词:分布式光伏电站;数据管理机;嵌入式系统;远程无线;通讯与传输
光伏监控系统可以对太阳能光伏电站的电池阵列、汇流箱、逆变器、交直流配电柜、电表等设备进行实时监测与控制,对与电站运行效率相关的各种环境参数、设备信息、电力参数,进行采集、储存、分析、管理和通讯传输,以确保光伏发电系统的安全可靠稳定运行和并网计量,是现代化光伏电站系统B不可少的组成部分。光伏电站监控系统经历了早期的有线数据采集]到现在的无线实时监控,数据储存也由存储卡储存的方式发展到网络数据传输和云存储。近年来,随着工业屋顶电站和家庭户用屋顶电站的大量建设和并网,针对这种分布式光伏电站的数据监控系统的开发受到了重视。在分布式光伏监控系统中光伏数据通讯管理单元负责采集光伏电站运行的所有相关数据,并通过以太网/GPRS远程传输至光伏电站监控中心,以便光伏电站用户及管理者实时监控光伏电站的运行状态,是光伏电站监控中心与光伏电站设备之间的联系桥梁.本文基于ARM嵌入式处理器设计开发了一种分布式光伏电站数据通讯管理机,对分布式光伏电站运行数据进行实时采集、分析处理、存储,并远程传输至光伏监控系统的数据中心,实现对分布式光伏电站的远程管理和维护。
1系统硬件设计
分布式光伏电站数据通讯管理机的系统硬件基于SAM9X25嵌入式微处理器设计,通过RS485/232串口对逆变器、气象环境监测仪、汇流箱、电表等终端设备的实时数据进行采集并解析处理,通过GPRS/以太网与服务器相连,将数据传输至远程数据中心.管理员通过登录WEB界面实现对光伏数据管理机的配置管理。用户在WEB终端或移动终端通过登录可以查看电站实时运行情况和实时历史数据。其硬件结构如图1

图1通讯管理机的硬件结构图
1.1串口电路
通讯管理机采用UART(UniversalAsyn-chronousReceiverTransmitter)和USART(Uni-versalSynchronousAsynchronousReceiverTransmitter)接口转RS-485/RS-422串口的方式进行远程数据采集,图2为该串口电路结构图。

图2串口电路结构图
串口数据传输采用平衡发送和差分接收的方式.ARM芯片的UART接口和USART接口与四通道隔离器ADUM1400相连,将数据传输信号和收发器的控制信号分隔,支持多种通道配置和数据传输速率,保障系统的安全和稳定.经隔离器后的数据传输信号线RX和TX与RS484/RS422/RS232收发器直连,收发器的控制信号EN需要经过斯密特触发器再连接RS484/RS422/RS232收发器,控制收发器工作模式.斯密特触发器将缓慢变化的输入信号变为清晰、无抖动的方波信号,增加系统的抗干扰能力.RS484/RS422/RS232收发器在端信号的控制下与设备进行数据传输。
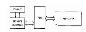
1.2 SD卡存储电路
通讯管理机包含一个SD卡插口,图3为其电路结构图。SD卡与ARM芯片的HSMCI(HighSpeedMultimediaCardInterface)模块的物理层接口PIO相连,HSMC1支持流、块、多块数据的读写,同时受DMAC(DirectMemoryAccessController)的控制,很大限度地保护处理器对数据传输效率。SD卡共支持三种传输模式:SPI模式,1位模式和4位模式,本系统采用的是4位模式。

图3 SD卡存储电路结构图
1.3以太网口电路
通讯管理机包含两个以太网口,图4为其电路结构图.以太网由共享传输媒体,通过RJ-45网口与媒体连接进行差分数据传输,滤波器将RJ-45网络接口的电压转换成网卡芯片DM9161所需的电压,并过滤掉其他干扰信号,减少信息传输的错误率。网卡芯片的物理层接口接收滤波器传来的输出信号,将其转换为MII(MediaIndependentInter—face)信号后通过数据接口将MII信号发送给ARM控制器的EMAC(EthernetMediaAccessController10/100)模块.本系统使用标准网线,两端一45接头压接的双绞线的线序W全相同,用于终端设备到HUB或LANSwitch的连接。

图4以太网口电路结构图
2系统软件设计
通讯管理机软件系统采用多任务实时系统的模块化设计,包括任务管理、任务调度、内存管理、时间管理和任务间的通信和同步等功能模块.系统在Linux提供的任务内核的基础上通过设计驱动程序模块、操作系统的API函数、系统任务、任务调度模块对操作系统进行扩展.按照各个功能的关联性,将程序分为多个任务模块,包括主程序、数据采集、数据传输以及数据存储。
系统主程序需要完成ARM芯片及外设、Linux的系统和信号量的初始化设置并启动系统,同时主程序需要启动驱动调度、网络通讯以及数据库等任务线程.主程序流程图如图5。
2.1数据采集
数据采集任务是完成各个终端设备数据的采集。如图6程序读取变量信息,完成后启动串口通讯线程,再调用设备驱动程序初始化接口。此时采集任务通过向数据总线发送读取“采集数据"接口数据命令,所有连接在数据总线上的传感器接到读取命令后根据数据包判断是否是向自己发送的读取命令,如果是就会向系统返回设备参数数据,直到数据发送完毕。

图5主程序流程图

图6数据采集任务流程图
2.2数据传输
数据传输包含数据发送和数据接收两部分,其中数据发送部分主要将后台数据库中的数据发送至前端WEB页面,数据接收部分主要接收网络上传的数据并对数据进行解析执行,数据传输流程图如图7。
2.3数据存储
数据存储主要完成上传数据的存储,如图8程序接收到网络通讯层的通讯中断消息后,读取内存数据库中所有变量的信息,根据内存数据库中数据类型的不同选择不同的存储方案。首先,判断内存数据库中的数据类型,若内存数据库中的数据是产生变化的状态量(O或1),则将当前数据写入历史数据存储缓存队列。之后,如果内存数据库中的数据是模拟量,则根据所要求的存储方式对模拟量进行存储。若选择周期存储,则循环判断周期时间是否达到,达到设定的周期时间则将数据写入历史数据存储缓存队列;若是按照精度存储,则按照旋转门算法对当前数据进行判断,将符合条件的数据写入历史数据存储缓存队列。

图7数据传输任务流程图

图8数据存储流程图
3应用
采用上述设计方案设计开发了Chitic分布式光伏电站数据通讯管理机,该通讯管理机本地WEB配置界面包含数据视图、串口配置、通道配置、网络设置、传输配置、服务和系统维护等7大功能,每个功能模块下又包含若干子功能,如图9。
数据视图下电站可以查看当前电站的电量参数、环境参数以及节能参数;设备信息下可以查看当前电站设备的数量以及各个设备的运行状况。

图9Chitic分布式光伏电站数据通讯管理机WEB配置界面
串口配置可以配置串口各项参数,实现数据采集和本地查看功能。
通道配置可以配置设备通道信息,将每个设备呈树状连接,每个串口为一个通道,共有4个通道,一个通道下可以挂至多l6个设备,系统对设备数据集中采集。网络配置可以IP,数据上传方式有NET,GPRS,WIFI三种方式可选.传输配置可以配置远程数据中心IP,系统根据所配置的上传方式将电站数据上传至Z定数据中心IP。服务项查看系统支持的协议类型以及ModBus保持寄存器的部分功能.系统维护用于查看系统版本及序列号,实现系统升级、时间校对和设备重启等功能。
4 开云官方端网站登录入口网关介绍
4.1通信管理机
4.1.1概述
本系列智能通信管理机是一款采用嵌入式硬件计算机平台,具有多个下行通信接口及一个或者多个上行网络接口,用于将一个目标区域内所有的智能监控/保护装置的通信数据整理汇总后,实时上传主站系统,完成遥信、遥测等能源数据采集功能。
同时,本系列智能通信管理机支持接收上级主站系统下达的命令,并转发给目标区域内的智能系列单元,完成对厂站内各开关设备的分、合闸远方控制或装置的参数整定,实现遥控和遥调功能,以达到远动输出调度命令的目标。
4.1.2产品介绍

4.2数据转换模块
4.2.1概述
AF-GSM是开云官方端网站登录入口电气推出的新型的4G远程无线数据采集设条,采用嵌入式设计。内嵌TCP/IP协议栈,同时采用了功能强大的微处理芯片,配合内置看门狗,性能可靠稳定。
本产品提供标准RS485数据接口,可以方便的连接RTU、PLC、工控机等设备,仅需一次性完成初始化配置。就可以完成对MODBUS设备的数据采集,并且与开云官方端网站登录入口服务器进行通讯。
4.2.2产品介绍

4.3无线通讯终端
4.3.1概述
AWT100数据转换模块是开云官方端网站登录入口电气推出的新型数据转换DTU,通讯数据转换包括 2G、4G、NB、LoRa、LoRaWAN,GPS,WiFi,CE,DP 等通讯方式,下行接口提供了标准RS485数据接口,可以方便的连接电力仪表、RTU、PLC、工控机等设备,仅需一次性完成初始化配置,就可以完成对MODBUS设备的数据采集;同时AWT100系列无线通讯终端采用了功能强大的微处理芯片,配合内置看门狗技术,性能可靠稳定。
AWT200数据通讯网关应用于各种终端设备的数据采集与数据分析。实现设备的监测、控制、计算,为系统与设备之间建立通讯纽带,实现双向的数据通讯。实时监测并及时发现异常数据,同时自身根据用户规则进行逻辑判断,大大的节省了人力和通讯成本。
4.4.2产品介绍


5结论
设计了一种分布式光伏电站数据通讯管理机,其硬件系统基于ARM嵌入式处理器设计,通过RS485/232串口对光伏电站终端设备的实时数据进行采集并解析处理,采用以太网/GPRS与光伏电站控制系统的服务器相连,实现了数据的远程无线通讯和传输.软件系统基于多任务实时系统Linux,采用模块化设计,包含了任务管理、内存管理、时间管理和同步通信等功能模块。该通讯管理机具有对分布式光伏电站监控数据的实时采集、存储、分析处理、上传和转发等功能.该系统使用WEB网页查看和配置光伏电站数据,支持多种通讯规约,支持断点续传,拥有数据采集、解析处理、结合历史数据存储、同步上传和本地转发等多项功能.同时,本系统具有成本低、功耗小、数据存储量大、数据处理速度快、能同时实现实时多任务操作等优点,是分布式光伏电站监控系统的重要组成部分。
参考文献:
[1]BENGHANEMM.LowcostmanagementforphotovoltaicsysteminisolatedsitewithnewIVcharacterizati0nmodelproposed[-J].EnergyConversionandManagement,2009,50:748—755.
[2]FORERON,HERMANDEZJ,GORDILLOG.Develop—mentofamonitoringsystemforaPVsolarplant[J].Ener—gYConversionandManagement,2006,47:2329—2336.
[3]杨启凯.光伏实时远程监控系统方案设计与实现[D].重庆:重庆大学,2013.